


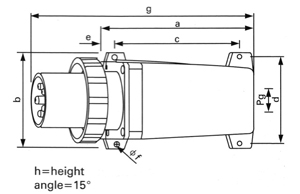
63Amp | 125Amp | |||||
Poles | 3 | 4 | 5 | 3 | 4 | 5 |
a | 193 | 193 | 193 | 220 | 220 | 220 |
b | 122 | 122 | 122 | 140 | 140 | 140 |
c | 157 | 157 | 157 | 185 | 185 | 185 |
d | 109 | 109 | 109 | 130 | 130 | 130 |
e | 19 | 19 | 19 | 17 | 17 | 17 |
f | 6 | 6 | 6 | 8 | 8 | 8 |
g | 288 | 288 | 288 | 330 | 330 | 330 |
h | 127 | 127 | 127 | 140 | 140 | 140 |
pg | 29 | 29 | 29 | 36 | 36 | 36 |
Wire flexible [mm2] | 6-16 | 16-50 | ||||
創(chuàng)新探索,開創(chuàng)未來(lái)

郵箱:cee@cncee.com
電話:057762968788
傳真:0577-62994888
QQ:860025678